Estas son las últimas patentes de Apple y para qué novedades servirán
Desvelan posibles funciones de nuevos dispositivos de Apple: estas podrían ser algunas de ellas

El botón de inicio de Apple ya incorpora funciones de huella dactilar / APPLE

Madrid
Este mes de enero han salido a la luz nuevas patentes concedidas a Apple en Estados Unidos: desde un hipotético ‘joystick’ para jugar, control por la mirada o un lápiz que serviría para controlar un posible iPad de gama profesional. Algunos medios especializados han publicado las fotos de los planos de la Oficina de Patentes estadounidense concedidas a Cupertino.
Las empresas de software son dadas en ese país a registrar todo tipo de innovaciones y funciones con el objetivo de adelantarse a la competencia. Muchas de ellas dan pistas acerca de las próximas funciones o nuevos lanzamientos. Otras, quedan directamente en el cajón y no llegan a salir, pero las compañías se aseguran con esto de que sus ideas no acaben en aparatos de la competencia.
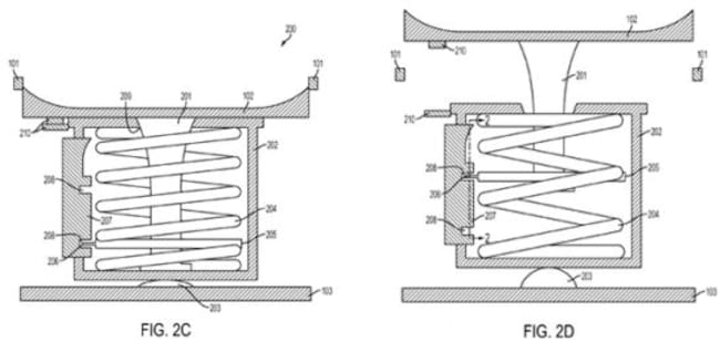
1. Un ‘joystick’ sería genial
Esta patente sería la delicia de todos los jugones. Escondería un ‘joystick’ bajo el botón ‘Home’ del iPhone o el iPad. Este botón ya incorpora un sensor de huella dactilar. Con esta patente, ampliaría aún más sus capacidades.

Una patente que ocultaría un ‘joystick’ bajo el botón de inicio / APPLEINSIDER

Una patente que ocultaría un ‘joystick’ bajo el botón de inicio / APPLEINSIDER
Sin embargo, los analistas de AppleInsider apuntan a que podría no ver la luz. No ven un iPhone para jugones. Pero puede que Apple pudiera integrarlo en los ‘iPod touch’ u otros dispositivos más dedicados a juegos. En su día ya intentaron reorientar este aparato como videoconsola portátil. Con la patente sobre la mano, el tiempo dirá si estas características llegan a ver la luz de algún modo.
2. ¿Vuelta al ‘stylus’?
Apple patentó en marzo del año pasadoun ‘stylus’, que es el lápiz que venía con aquellos primeros Pocket PC y ‘smartphones’. No tan habitual en la actualidad, viene de serie con los teléfonos Samsung Galaxy Note, pero ya no es imprescindible como lo fue a principios de los 2000.

Así funcionaría un lápiz sobre el iPad / APPLEINSIDER

Así funcionaría un lápiz sobre el iPad / APPLEINSIDER
Las pantallas han evolucionado mucho: ahora es más fácil tocarlas con el dedo. Antes, había que pulsar, y por eso el ‘stylus’ era más cómodo. Sin embargo, se hizo muy conocido este vídeo del fallecido Steve Jobs, cuando pronunció aquellas famosas palabras: “¿Quién quiere un ‘stylus’?”. Después, apareció el iPhone, cuya “revolución” fue que se manejaba usando los dedos.
undefined
Entonces, ¿por qué Apple querría volver al viejo lápiz? Los que incorporan dispositivos como Note son mucho más avanzados que los de antaño. Por poner un ejemplo, el teléfono los detecta a distancia y tienen múltiples tipos de presión, un manejo más suave...
En un iPad de gama profesional tendría más sentido, porque las personas dedicadas a las artes gráficas o que tengan que realizar anotaciones frecuentes podrían sacarle mucho partido.
3. No encuentro el puntero del ratón
La visión periférica humana no ofrece gran nitidez ni detalle. Y eso a veces juega malas pasadas. Por ejemplo, no encontrar el puntero del ratón en la pantalla.

Varios sensores de mirada serían capaces de detectar la visión periférica / APPLEINSIDER

Varios sensores de mirada serían capaces de detectar la visión periférica / APPLEINSIDER
Este sistema sería capaz de recolocar objetos en la pantalla utilizando sensores de mirada.
Esta patente tiene más sentido en ordenadores que en dispositivos móviles. Pero ante el rumoreado iPad de mayor tamaño, quién sabe si podría ser más práctico.




